Essential Vision

Wireless Clock Synchronization

At Essential Vision, we specialize in precision wireless timekeeping solutions for industries that rely on synchronized clocks and accurate frequency references. Our latest innovation is a 10 MHz wireless synchronization system, designed to receive and process the National Institute of Standards and Technology (NIST WWV) time signal with unmatched reliability. This system enables seamless wireless clock synchronization, ensuring all connected devices maintain perfect timing without the need for direct connections or manual adjustments. Using an optimized Phase Locked Loop architecture our receiver captures the WWV signal with exceptional clarity and stability. Our PLL module enhances phase stability, making our synchronization system ideal for laboratories, broadcasting, and telecommunications—where precise timing is critical. Essential Vision is redefining wireless time synchronization with cutting-edge solutions that deliver accuracy, consistency, and ease of deployment.

Problem Statement

Pairs of test equipment that require a synchronized clock will generally be wired to the same clock reference and operate over small distances. When paired devices need to operate over large distances, clock synchronization can be a major hindrance due to price and scalability issues. Indoors, reliable clocks like GPS-Disciplined Oscillators become unavailable, and Internet Timing Protocols like Network Timing Protocol and Precision Time Protocol lack accuracy. Our method will incorporate two devices consisting of a 10 MHz clock receiver, Phase-Locked Loop module, and amplifier to generate synchronized clocks.

Proposed Solution Diagram

Proposed Solution Diagram

Value Proposition

Our method of wireless clock synchronization will allow for indoor measurements such as S-parameter measurements.

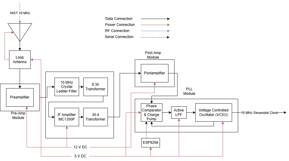
System Block Diagram

System Diagram

Max Bernstein

Max Bernstein Headshot

Team Member

bernsteinma@sonoma.edu

Grant Goodwin

Grant Goodwin Headshot

Team Member

goodwingr@sonoma.edu

Tony Rochman

Tony Rochman Headshot

Team Member

rochmana@sonoma.edu

Dr. Mohamed Salem

Dr. Mohamed Salem Headshot

Faculty Advisor

salemmo@sonoma.edu